Caleb’s Fund

  • T
  • N
100 donors
0% complete

$9,000 raised of $10K

Caleb’s Fund

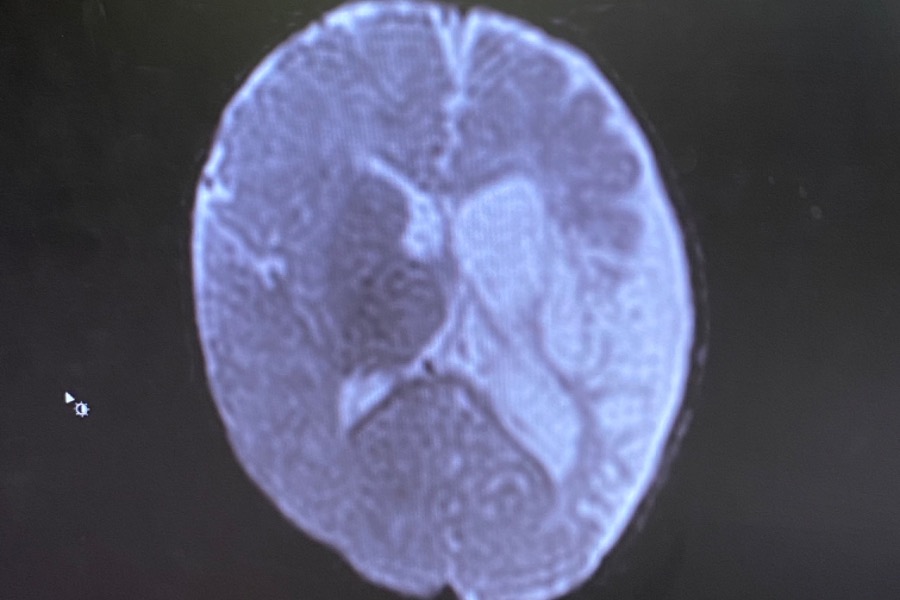
Our son, Caleb was diagnosed with Cerebral Palsy caused by a brain bleed. In the image below the white areas on the right side of the image are dead parts of the brain. 



The extent of the bleed this much greater than initially thought, and as a result Caleb can’t properly use his right hand. It is also likely he will walk with a limp. Whether or not the other portion of his brain can compensate for the language center which is affected as well is unknown. There is also, of course, concern about psychological impacts of teased / physically different.

Because of Caleb's brain bleed, he developed infantile spasms. Infantile spasms or 'West Syndrome' is a catastrophic epileptic disorder, in that when the spasms are occurring the brain and motor functions can not develop. Ongoing seizures can lead to mental and physical retardation. 

Caleb was diagnosed early and treated with a very high dose of steroids, to which he responded well. We have not seen any spasms or the corresponding hypsarrhythmia on his last EEGs (thank God!). 

Because his spasms are classified as 'symptomatic' (ie from a known symptom - his brain bleed) there is a 50 - 70% chance they will recur, though we are praying for the miracle they do not. If they do we will do one more corse of medication and then likely need to consider a hemispherectomy (disconnecting / removing half of his brain). 

The treatment is extensive therapies with various specialists. For those of you who would like to help, any contribution will go towards medical bills and required additional care. 

We are partially still in shock / denial, and partially beginning to grieve the loss of the future we hoped for for our son. All prayers are deeply appreciated.

Organizer

Hope Clark
Organizer
Carlsbad, CA
  • Medical
  • Donation protected

Your easy, powerful, and trusted home for help

  • Easy

    Donate quickly and easily

  • Powerful

    Send help right to the people and causes you care about

  • Trusted

    Your donation is protected by the GoFundMe Giving Guarantee